客製化gobo,GOBO,gobo燈
可選擇按鍵顏色
  • 1
  • 2
  • 3
  • 4
  • 5
  • 6
  • 7
  • 8
  • 9
  • 10
更多GOBO介紹
按上方顏色

客製化GOBO片小常識



GOBO片內外徑
客製化GOBO內徑與外徑

不管是不銹鋼GOBO或耐高溫玻璃GOBO,都有一定之尺寸(內徑及外徑)..內徑太大,影像投射出來,圖案可能被切掉,~請把GOBO尺寸明確化~.請明確告知GOBO的尺寸.如GOBO厚度,外徑尺寸.有效投影文字圖形內徑尺寸。若有尺寸不明的時候請參考投影.投射機器製造廠並向銷售店詢問。

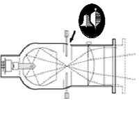
何謂GOBO,GOBO用途?
何謂GOBO,GOBO用途?

如上圖把GOBO片,放入投射燈內,透過聚光點把燈泡光束投射至GOBO之文字或圖案.再經鏡頭,放射出與GOBO上圖案一模一樣的圖形.把想表達之圖文.用強力光束投射至牆壁、天花板、地面、布幕做為宣傳廣告,突破人的慣常思維.激發人們的好奇心.使公司的公關行銷,吸引目光,達到完美的宣傳效果 。。

金屬透光GOBO片架橋
GOBO內徑與外徑之範例

要求GOBO內徑與外徑.主要為要裝入投射燈或搖頭燈內之轉盤內外框.GOBO片在被裝入機器內後,袛會呈現內徑尺寸(被投影尺寸)若GOBO外徑太大則裝不進去,若GOBO片內徑太大則影像投射出來,圖案可能被切掉,若有尺寸不明的時候請參考投影.投射機器製造廠並向銷售店詢問或詢問統大公司。

金屬GOBO與玻璃GOBO之區別
金屬GOBO與玻璃GOBO之區別

有關GOBO正確尺寸,請注意目並了解其特性 (不銹鋼GOBO,會有縫缺,做橋) 不銹鋼GOBO在縫缺加工進行時,為了全體性與印象有差異、故在完成後做雙方相互做校對時,請再次確認,,但玻璃GOBO,則可依客戶指定圖案擋大小,粗細,顏色等,美好的表現呈現圖擋之投射影像。

不銹鋼GOBO在縫缺加工
不銹鋼GOBO縫缺加工範例

如上圖英文字母的「A」的文字,若作雷射蝕刻加工,上面的△的部分若做完「A」,會脫落」。故在金屬透光GOBO片為防止這個「缺孔」,一定要有縫缺(橋)來固定,若不銹鋼GOBO裡,沒有做縫缺固定的話△的部分.這「缺孔」就如上圖「A」的文字.少了△的部分.投射出來的文字.就不能成「A」字。

台南市708安平區永華八街351号

TEL:(06)293-4039

FAX:(06)295-8668

手機: 0913-933255
E-mail: japantaiwan@hotmail.com